 
         
            | Key # | Product | Price | |
|---|---|---|---|
| 
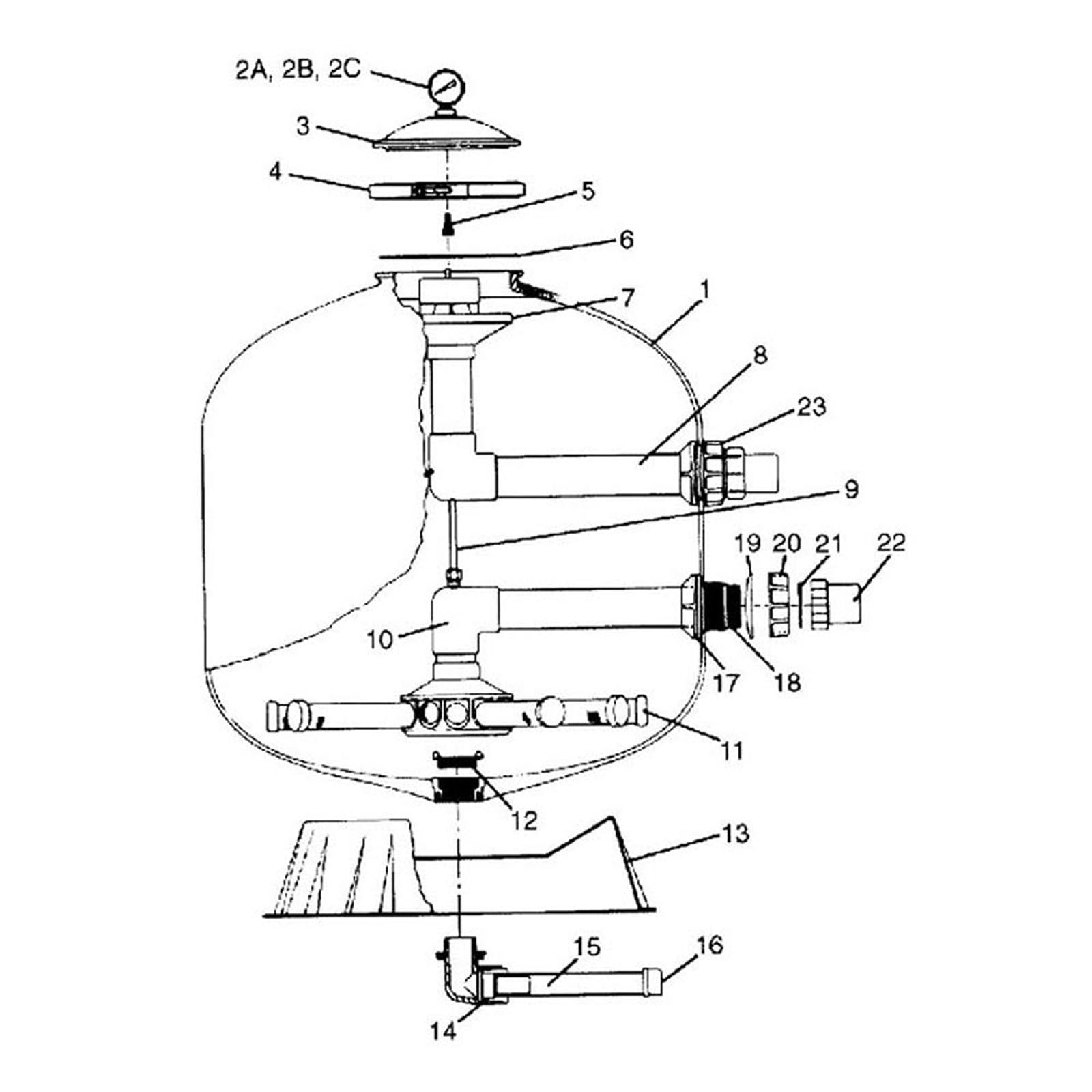
             1
             | Air Relief Valve, Pentair Sta-Rite SKU: 17-102-1002 
 MPN: WC212-120P Qty Available: 0 | $24.22 view details out of stock | |
| 
             1
             | Pressure Gauge, Pentair StaRite, 1/4"mpt, 0-60psi,Back Mount SKU: 17-102-1100 
 MPN: 33600-0023T Qty Available: 0 | $44.56 view details out of stock | |
| 
             1
             | Air Bleed Tee, Pentair Sta-Rite/PacFab SKU: 17-110-1468 
 MPN: 154689 Qty Available: 0 | $27.64 view details out of stock | |
| 
             1
             | Pressure Gauge, 1/4"mpt, 0-60psi, Back Mount, Generic SKU: 17-555-1018 
 MPN: IPPG602-4B Qty Available: 187 | $10.71 
 | |
| 
             1
             | Air Bleed Tee, Pentair Sta-Rite/PacFab SKU: 17-102-2131 
 MPN: 154689Z Qty Available: 175 | $36.63 
 | |
| 
             2
             | Tank Lid, Pentair Sta-Rite HRP36 SKU: 31-102-1500 
 MPN: 15B0299 Qty Available: 0 | $135.48 view details out of stock | |
| 
             3
             | Clamp Ring, Pentair Sta-Rite HRP36 SKU: 31-102-1502 
 MPN: 00B8083 Qty Available: 0 | $128.67 view details out of stock | |
| 
             4
             | Air Relief Screen, Pentair Sta-Rite HRP36 SKU: 31-102-1504 
 MPN: 15B0074 Qty Available: 0 | $10.60 view details out of stock | |
| 
             5
             | Square Ring, Pentair Sta-Rite High Rate, Tank Lid, O-215 SKU: 31-102-1506 
 MPN: 00B7013 Qty Available: 0 | $7.33 view details out of stock | |
| 
             6
             | Hydro Dome Distributor, Pentair Sta-Rite HRP36 SKU: 31-102-1508 
 MPN: 15B0043 Qty Available: 0 | $116.36 view details out of stock | |
| 
             7
             | Pipe Assembly, Waterco Baker Hydro HRV 36, Upper SKU: 31-252-1016 
 MPN: 15B0226 Qty Available: 3 | $35.31 
 | |
| 
             8
             | Air Relief Assembly, Pentair Sta-Rite HRP36 SKU: 31-102-1512 
 MPN: 15B0232 Qty Available: 0 | $45.51 view details out of stock | |
| 
             9
             | Collector Assembly, Pentair Sta-Rite HRP36 SKU: 31-102-1514 
 MPN: 15B0227 Qty Available: 0 | $372.71 view details out of stock | |
| 
             10
             | Lateral, Pentair Sta-Rite HRP30/36, 8-1/2", thd SKU: 31-102-1516 
 MPN: 15B0124 Qty Available: 0 | $32.75 view details out of stock | |
| 
             11
             | Winterdrain Screen, Pentair Sta-Rite HRP36 SKU: 31-102-1518 
 MPN: 15B0319 Qty Available: 0 | $26.45 view details out of stock | |
| 
             13
             | Winterdrain Elbow, Pentair Sta-Rite HRP36 SKU: 31-102-1522 
 MPN: 15B0306 Qty Available: 0 | $55.28 view details out of stock | |
| 
             14
             | Winterdrain Pipe, Pentair Sta-Rite HRP36 SKU: 31-102-1524 
 MPN: 15B0311 Qty Available: 0 | $19.98 view details out of stock | |
| 
             15
             | Drain Cap, Waterco Baker Hydro HRV SKU: 31-252-1056 
 MPN: 88B3043 Qty Available: 0 | $9.04 view details out of stock | |
| 
             16
             | Bulkhead Assembly, Pentair Sta-Rite HRP36 SKU: 31-102-1540 
 MPN: 31B9031 Qty Available: 0 | $192.79 view details out of stock | |
| 
             17
             | Gasket, Pentair Sta-Rite HRP36, Bulkhead SKU: 31-102-1528 
 MPN: 31B9036 Qty Available: 0 | $19.31 view details out of stock | |
| 
             18
             | Bulkhead Fitting, Pentair Sta-Rite HRP36 SKU: 31-102-1530 
 MPN: 31B9032 Qty Available: 0 | $58.49 view details out of stock | |
| 
             19
             | Bulkhead Washer, Pentair Sta-Rite HRP36 SKU: 31-102-1532 
 MPN: 31B9034 Qty Available: 0 | $11.44 view details out of stock | |
| 
             20
             | Bulkhead Nut, Pentair Sta-Rite HRP36 SKU: 31-102-1534 
 MPN: 31B9002 Qty Available: 0 | $23.42 view details out of stock | |
| 
             21
             | Square Ring, Pentair Sta-Rite High Rate, Adapter, O-435 SKU: 31-102-1536 
 MPN: 00B7027 Qty Available: 0 | $4.00 view details out of stock | |
| 
             22
             | Bulkhead Adapter, Pentair Sta-Rite HRP36, with out O-Ring SKU: 31-102-1538 
 MPN: 31B0077 Qty Available: 0 | $61.88 view details out of stock | |
| 
             23
             | MPV,Pacfab/Pentair Hi-Flow Sand Filter,2" w/Unions,Side Mnt SKU: 26-102-1504 
 MPN: 261050 Qty Available: 10 | $277.25 
 | |
| 
             23
             | Multiport Valve, Praher SM2-SR2, 2", w/StaRite Plumbing, Blk SKU: 26-253-1185 
 MPN: SM2-SR2 Qty Available: 13 | $213.87 
 | |
| 
             23
             | Push Pull Valve, Pentair Sta-Rite, 2" Slip, ABS, New Version SKU: 26-102-1060 
 MPN: 263053 Qty Available: 7 | $169.05 
 | |
| 
             24
             | Push Pull Valve, Pentair Sta-Rite, 2" Slip, ABS, New Version SKU: 26-102-1060 
 MPN: 263053 Qty Available: 7 | $169.05 
 |